UPVC Products


Laminated UPVC Folding Door & Swing Door

  • UPVC decorative frames and doors complete with lockset in laminated finished.
  • Laminated UPVC Bi-Fold Door with frame for bathroom under HDB material approval list.
  • Come with varieties of colour selection.
  • New invention of door looked like timber finishing.
  • Durable and stronger reinforcement to replace Aluminium and Timber doors.

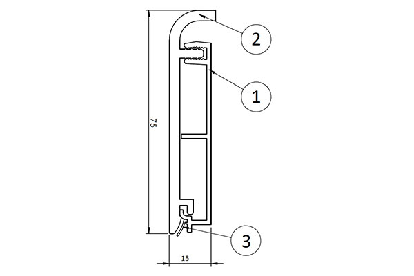
Laminated UPVC Skirting

  • Size: 75 x 15mm
  • Comes with skirting cover and base.
  • Waterproof and easy to handle.
  • Come with varieties colour selection.


Our products are approved under HDB Material Listing